Последний уровень раздела предыдущего изложения   Текущий уровень изложения предыдущего раздела   Текущий уровень изложения следующего раздела   Первый уровень изложения следующего раздела   Уровень: Глоссарии:


Принцип кратчайшей цепи преобразования

Так же, как и кратчайшая размерная цепь (позволяющая получить более высокую точность размера замыкающего звена), кратчайшая цепь преобразования, содержащая минимальное число преобразователей, позволяет получить более высокую точность функционирования устройства, благодаря меньшему числу источников погрешностей.

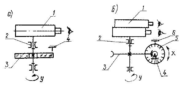
Сравним, например, теодолит и стереотрубу, функциональные схемы которых изображены на рис. 49.

 

Функциональныесхемытеодолита(а)истереотрубы(б)
Рис. 49

Горизонтальные углы на местности измеряются теодолитом (рис. 49,а) при наведении зрительной трубы 1 на объект наблюдения (рейку) ее разворотом вокруг вертикальной оси 2 с помощью лимба 3 и индекса (отсчетной системы) 4. Измерения горизонтальных углов стереотрубой осуществляются наведением зрительных труб 1 на объект их разворотом вокруг вертикальной оси 2 с помощью отсчетной червячной передачи 3, 4 и лимба 5 с индексом 6.

Теодолит, содержащий всего одну кинематическую пару (осевую систему), существенно превосходит по точности (погрешность измерения углов точными и грубыми теодолитами: DY=2 І -30І) стереотрубу, кинематическая цепь которой содержит две осевые системы и отсчетную червячную передачу. Точность стереотруб не превосходит одной-двух минут и обуславливается, главным образом, кинематической погрешностью червячной передачи. Типовыми примерами могут служить также известные конструкции окулярных микрометров (рис. 50).

Схемыокулярныхмикрометровивидполязрения
Рис. 50

На рис. 50, а, б изображена функциональная схема и вид поля зрения обычного винтового окулярного микрометра. Оператор, наблюдая в окуляр 1, совмещает с изображением объекта наблюдения марку (косой крест или би-штрих) подвижной сетки 3, перемещая ее с помощью отсчетного винтового механизма 4-6. Отсчет формируется с помощью точной 6 и грубой 2 шкал. Точность работы окулярного микрометра в существенной степени зависит от погрешности винтового механизма и обычно не превосходит 8-10m.

В спиральном окулярном микрометре (рис. 50, в, г) измерения производят при совмещении изображения с маркой (в виде двойной би-спирали) сетки 3, путем ее разворота с помощью зубчатой передачи 4, 5.

Благодаря тому, что точная шкала расположена на самой сетке 3 (см. поле зрения окуляра), информационная цепь уменьшается и погрешность зубчатой передачи не влияет на точность измерений, достигаемой, примерно, 5-6 m.

Более высокую точность измерений можно получить с помощью фотоэлектрического окулярного микрометра, схема и вид поля зрения которого изображены на рис. 50 д, е. Здесь винтовой механизм 3, 4 также является только приводом перемещения сетки 2 с маркой и измерительным растром, находящимся в оптическом сопряжении с индикаторным растром 7. При перемещении сетки происходит модуляция светового потока, проходящего от источника света 5 через конденсор 6, измерительный и индикаторный растры на фотоприемники 8, сигналы с которых позволяют определить искомую величину перемещения марки сетки. Информационная цепь преобразования по сравнению с винтовым окулярным микрометром (рис. 50, а) здесь также уменьшена.