Последний уровень раздела предыдущего изложения   Текущий уровень изложения предыдущего раздела   Текущий уровень изложения следующего раздела   Первый уровень изложения следующего раздела   Уровень: Глоссарии:


Принцип Аббе

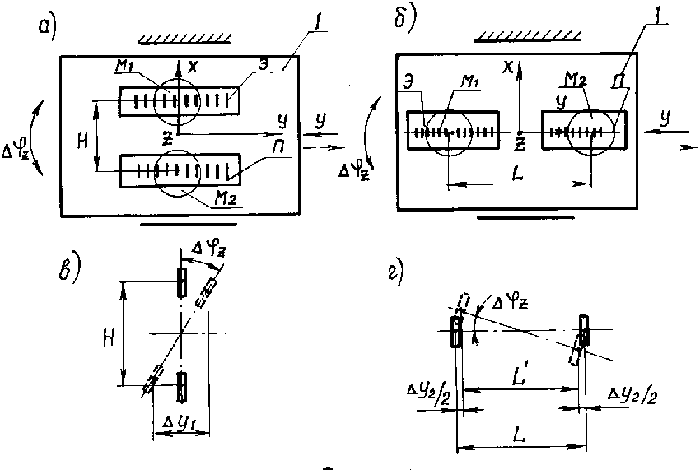
По этому принципу, называемому также принципом исключения компараторной погрешности, эталонный элемент устройства должен быть расположен соосно с рабочим элементом (или измеряемым объектом). В этом случае уменьшается погрешность взаимного линейного расположения эталонного и рабочего элементов при возникновении поворотов деталей из-за технологических или эксплуатационных погрешностей (зазоров, погрешностей формы контактирующих поверхностей, деформаций, биений и т.п.).

На рис. 44 показан классический пример, давший второе название принципу с поперечным (рис. 44, а) и продольным (рис. 44, б) компараторами. На каретке 1, перемещаемой вдоль оси Y, установлены эталонная (Э) и поверяемая (П) шкалы, взаимное положение штрихов которых измеряется с помощью отсчетных микроскопов М1, М2

Cхемыпродольногоипоперечногокомпараторов
Рис. 44

В поперечном компараторе, из-за поворотов каретки (Djz) вокруг оси Z, обусловленных погрешностями направляющих, возникает значительная погрешность измерения DY1 первого порядка малости, пропорциональная расстоянию Н между шкалами (рис. 44,в): 

 

Чтобы исключить погрешность первого порядка, Аббе предложил расположить талонную и поверяемую шкалы соосно, преобразовав компаратор в продольный (компаратор Аббе). В этом случае погрешность измерения из-за поворотов каретки будет лишь второго порядка малости (рис. 44, г):

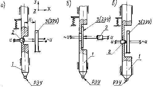
Рассмотрим типовые примеры на соблюдение и нарушение этого принципа в некоторых устройствах ОП. На рис. 45 изображена измерительная пиноль 1 длиноизмерительной машины, перемещающаяся в шарикоподшипниковых направляющих 2. Эталонным элементом пиноли является измерительный растр (дифракционная решетка) 3, установленный для соблюдения принципа Аббе соосно с наконечником (РЭУ* ), контактирующим с измеряемым объектом. Если бы растр был установлен так, как показано пунктирной линией (на верхней поверхности пиноли), то из-за неизбежных поворотов пиноли при ее движении вдоль оси Y возникала бы значительная погрешность измерения. 

Измерительнаяпинольдлиноизмерительноймашины
Рис.45

С явным нарушением принципа Аббе выполнена конструкция окулярного микрометра типа МОВО (ГОСТ 7865-77), схема которого изображена на рис. 46.  

СхемаокулярногомикрометраМОВО
Рис. 46

Здесь 1 - подвижная сетка с маркой в виде би-штриха и косого креста, а также грубой шкалой; 2 - точная шкала (лимб); 3, 4 - цилиндрическое и цилиндро-коническое колеса; 5 - гайка; 6 - винт; 7 - пружина.

Перемещение (Y) марки подвижной сетки осуществляется гайкой 5 при повороте винта 6 и связано с поворотом лимба зависимостью

,

где Z4, Z3 - числа зубьев соответствующих колес; К, Р - число заходов и шаг резьбы винтового механизма; X - угол поворота точной шкалы.

При движении сетки из-за погрешностей направляющих происходит ее поворот вокруг оси Z(Djz), что вызывает погрешность расположения марки сетки относительно изображения объекта наблюдения и гайки отсчетного винтового механизма, так как объект наблюдения (марка) и винтовой механизм (гайка) расположены несоосно (имеется вылет Н):

.

На рис. 47 изображены схемы конструкций фотоэлектрического индикатора перемещений, используемого в некоторых случаях вместо широко известного механического индикатора часового типа.

Вариантырасположениямультисканаисветодиодавфотоэлектрическоминдикатореперемещений
Рис. 47

Величина перемещения измерительной пиноли 1, контактирующей сферическим (или плоским) рабочим элементом (РЭУ) с поверяемым объектом, определяется с помощью линейного позиционно-чувствительного приемника 3 (например, типа "Мультискан"), на котором светодиодом 2 создается световая зона. При смещении световой зоны по приемнику снимаемое с него электрическое напряжение изменяется по соотношению

,

где L0=18 мм - длина чувствительной площадки приемника; U0 - номинальное напряжение; Х - величина смещения световой зоны (служит мерой искомого перемещения пиноли).

Конструкция, показанная на рис. 47, а, выполнена с нарушением принципа Аббе, так как позиционный приемник, являющийся эталонным элементом устройства (ЭЭУ), установлен несоосно с рабочим элементом пиноли. Поэтому повороты ((Djz) пиноли вокруг оси Z, возникающие при ее движении, приведут к дополнительному смещению световой зоны по приемнику на величину

,

т.е. вызовут погрешность измерения первого порядка.

Во втором варианте конструкции (рис. 47,б,в), где принцип Аббе соблюден, эти дефекты приведут к погрешности измерения второго порядка малости.

Расположение эталонного элемента устройства соосно с рабочим элементом, являясь необходимым условием соблюдения принципа Аббе, не всегда достаточно для исключения погрешности измерения первого порядка малости при возникновении поворотов элементов [19]*. И наоборот, известны конструктивные решения,

выполненные с нарушением принципа Аббе, но не вызывающие погрешностей измерения при поворотах элементов, благодаря взаимокомпенсации составляющих этой погрешности.

Примерами могут служить оптические отсчетные устройства длиноизмерительных машин, разработанные Эппенштейном (принцип Эппенштейна) [29]* и конструкторами фирмы ЛОМО (Авторское свидетельство N 504442).

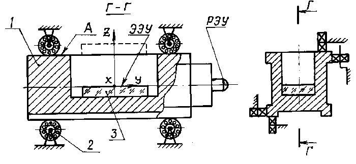
Разработанный на ЛОМО проект длиноизмерительной машины (реализован фирмой Карл-Цейсс) имеет отсчетное устройство, основанное на лазерном интерферометре и системе зеркал, закрепленных на измерительной (подвижной) каретке машины (рис. 48).  

Длиноизмерительнаямашина
Рис. 48

Конструкция устройства не соответствует принципу Аббе, так как измеряемый объект (винт) 7 и элементы эталонной измерительной системы 1-6 не расположены на одной оси. Однако, благодаря симметричному расположению зеркал 2-5 относительно оси пиноли, здесь происходит взаимокомпенсация погрешностей расположения зеркал относительно отражающей триппель-призмы 6 и интерферометра 1 при поворотах каретки, т.е. не возникает погрешность первого порядка малости измерения расстояний.