Последний уровень раздела предыдущего изложения   Текущий уровень изложения предыдущего раздела   Текущий уровень изложения следующего раздела   Первый уровень изложения следующего раздела   Уровень: Глоссарии:


Точностная технологичность соединений

В процессе сборки детали соединяются путем сочленения, свинчивания, завальцовки, склейки и т.п.

Технологичность соединения определяется трудоемкостью сборки, трудоемкостью контроля качества сборки, уровнем необходимой квалификации персонала.

Наиболее технологичными являются соединения, которые могут быть собраны с использованием автоматического оборудования и промышленных роботов. Поэтому конструктор должен руководствоваться не только рассмотренными общими принципами конструирования соединений (выполнение которых, как правило, повышает их технологичность), но и частными правилами, касающимися автоматизации сборочных операций. Эти правила изложены, например, в работах [11]*, [29]* и заключаются: в обеспечении полной взаимозаменяемости деталей; стремлении к симметрии относительно наибольшего числа осей; минимизации числа соединительных элементов; исключении одновременного начала контактирования сопрягаемых деталей по нескольким поверхностям; осуществлении центрирования с помощью вращательно-симметричных деталей); предотвращении кинематически сложного движения рабочей детали в положение для сборки с базовой и т.д.

Одно из основных требований к качеству соединений - точность расположения их рабочих элементов относительно базовых. Оно достигается, благодаря точному изготовлению соответствующих элементов сопрягаемых деталей, а также с помощью их доводок и регулировок (юстировок) в соединении. Получаемую при этом точность соединений можно отнести к группам пониженной, средней и высокой точности, которые по соответствующей трудоемкости их достижения аналогично точности изготовления деталей (2.2.3 ) называют часто экономическим, производственным и техническим уровнями точности сборки деталей.

Экономическому уровню соответствует точность, достигаемая при сборке деталей без последующих пригонок и регулировок. Точность расположения рабочих элементов соединения относительно базовых при этом определяется погрешностями изготовления и сборки соответствующих элементов сопрягаемых деталей.

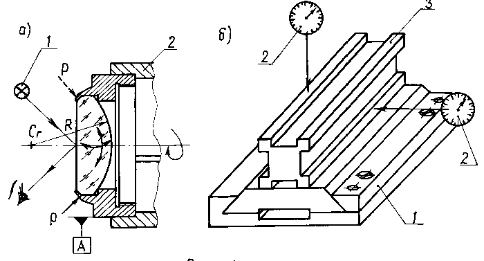
На рис. 40, а, б, в качестве примера этого уровня сборки показаны соединения плоско-выпуклой линзы с оправой и призматических направляющих типа "ласточкин хвост" с ползуном с обеспечением для последнего определенной прямолинейности хода относительно баз А и Б. Неперпендикулярность плоской поверхности линзы базовой оси (АБ) оправы и отклонение центра кривизны поверхности Г от АБ зависят, например, от биения опорного торца Д оправы, несоосности оси посадочного отверстия оправы под линзу и оси АБ, децентрировки самой линзы, неравномерности деформаций кромки оправы при завальцовке. Прямолинейность хода ползуна в вертикальной и горизонтальной плоскостях будет определяться погрешностями посадочных размеров и формы сопрягаемых поверхностей деталей 1 и 2.

Сборкапоэкономическомууровнюточности
Рис. 40

Производственному уровню соответствует точность, достигаемая при сборке, применяя пригонки и регулировки с использованием универсального оборудования и инструмента, и контролем на качественном уровне либо простейшими контрольными и измерительными средствами (индикаторами, калибрами, уровнями, шаблонами и т.п.).

Точность соединения тогда будет выше, так как часть погрешностей деталей компенсируется. Естественно трудоемкость этого процесса сборки будет выше.

Например, для повышения точности рассмотренного соединения линзы с оправой при ее завальцовке используют источник света 1 (лампу), биение отраженного изображения которого от плоской поверхности линзы при вращении цанги 2 станка, будет указывать на неперпендикулярность этой поверхности к оси цилиндра А рис. 41, а). Механик, создавая инструментом для завальцовки силу Р, деформирует соответствующую часть кромки оправы так, чтобы поворотом линзы вокруг центра кривизны (Сr) сферической поверхности установить плоскую поверхность перпендикулярно оси вращения шпинделя станка (т.е. и оси А). Заметим, что возможная децентрировка Сr относительно оси АБ при этом не устраняется.

Сборкапопроизводственномууровнюточности
Рис. 41

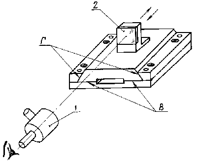
Повышение же точности прямолинейности хода ползуна в направляющих типа "ласточкин хвост" (рис. 41, б) может быть достигнуто регулировкой одной из салазок (планки, щеки 1), что требует выполнения конструкции направляющих полуоткрытого, а не глухого (как на рис. 40, б) типа. Контроль качества регулировки и достигнутой прямолинейности хода ползуна может быть осуществлен, например, с помощью лекальной линейки 3 и индикаторов 2 при возвратно-поступательном движении ползуна в направляющих.

Техническому уровню соответствует точность, достигаемая при сборке с пригонками, регулировками и доводками и при контроле с помощью прецизионных средств (автоколлиматоров, микроскопов, интерферометров ...), а также обеспечивая соответствующие условия и культуру производства (стабилизацию температуры, защиту от вибраций, чистоту рабочих мест и т.п.).

Например, наиболее высокую точность центрирования линз относительно своих оправ можно достигнуть путем регулировок положения линз (сдвигом, разворотом, наклоном [31]*), либо осуществляя результативную обработку оправ от оптической оси линзы. Результативная обработка оправы (изготовленной с припуском) в размер производится после сборки с линзой на токарном станке со специальным ("плавающим") патроном, позволяющим совместить оптическую ось линзы с осью шпинделя станка (рис. 42).

 

Сборкапотехническомууровнюточности.Результативнаяобработкаоправы.
Рис. 42.

Перемещая винтами часть патрона 2 перпендикулярно оси (О12) шпинделя станка, приводят центр кривизны (Сr) сферической поверхности линзы на эту ось, наблюдая за биением центра кривизны в автоколлимационную центрировочную трубу 7 Забелина (ЮС-13).

Затем, поворачивая часть патрона 3 вокруг центра Сп его сферы (расположенного на оси(О12) , устанавливают плоскую поверхность перпендикулярно оси шпинделя (либо выводят центр второй поверхности линзы на эту ось, если поверхность не плоская). Чтобы не сбивалась установка центра Сr, он должен находиться в одной

плоскости с центром Сп. Это осуществляется с помощью сменных переходников 4. После совмещения оптической оси линзы с осью шпинделя станка базовые поверхности А и Б оправы 5 подрезаются резцом 6 в номинальный размер. При этом компенсируется децентрировка линзы, обусловленная биением опорного торца оправы, несоосностью посадочного отверстия под линзу и базового цилиндра, смещением линзы в зазоре посадки и собственным эксцентриситетом.

Остаточная децентрировка линзы относительно базовой оси оправы невелика (по сравнению с экономическим и производственным уровнем точности сборки) и определяется биением шпинделя станка, деформацией патрона и погрешностью совмещения оптической оси линзы с осью шпинделя станка.

Более высокую точность прямолинейности и плавности хода ползуна в направляющих типа "ласточкин хвост" можно достичь после регулировки планки 1 (рис. 41,б), совместной притиркой ползуна и направляющих либо притиркой на планшайбе с наждаком (или шабровкой) поверхностей В, Г ползуна и направляющих, которые выполняются для этого открытого типа (рис. 43), а контроль прямолинейности хода проверять с помощью автоколлиматора 1 и зеркала 2, установленного на ползуне. Трудоемкость сборки здесь будет еще выше.

 

Сборкапотехническомууровню.
Рис. 43

Для современного уровня приборостроения ориентировочные значения достигаемой точности расположения элементов соединения относительно базовых, соответствующие экономическому (Э), производственному (П) и техническому уровням точности сборки, представлены в таблице 2. 

Таблица 2
Уровни точности сборки

Уровни точности сборки

 

Характеристика сборки

 

Контроль точности сборки

 

Погрешность

Линейная, мкм

Угловая , Угл.с.

Экономический

Без регулировок

Без контроля

10-50

30-120

Производственный

С пригонками и регулировками

На качественном уровне, с использованием простых средств

5-10

5-30

Технический

С пригонками, регулировками, доводками

С использованием прецизионных средств

0,1-5

1-5