Последний уровень раздела предыдущего изложения   Текущий уровень изложения предыдущего раздела   Текущий уровень изложения следующего раздела   Первый уровень изложения следующего раздела   Уровень: Глоссарии:


Принцип ограничения продольного и поперечного вылетов рабочих элементов

"Вылетом" рабочего элемента называют расстояние между ним и центром его возможного поворота в соединении. Суть принципа заключается в ограничении продольного или поперечного (иногда того и другого) вылетов, что позволяет уменьшить нежелательные (опасные) линейные смещения РЭС вдоль координатных осей при возникновении поворота рабочей детали относительно базовых элементов соединения из-за погрешностей формы сопрягаемых поверхностей, деформаций, зазоров и т.п.

На рис. 33, а изображена конструкция соединения оправы объектива с тубусом, где узловая точка объектива, представляющая РЭС, имеет продольный вылет (L) относительно центра поворота (Са) оправы из-за погрешностей сопрягаемых поверхностей А. В результате возникает смещение (децентрировка) узловой точки вдоль осей X,Y, пропорциональное вылету L при наклонах оправы на угол Dg: DX Dg , DYDg >LDX .

Продольныйипоперечныйвылетырабочихэлементов

 

Рис.33

Сопряжение оправы с тубусом по поверхности Б (рис. 33, б) позволяет избавиться от L, так как здесь узловая точка объектива и центр возможного поворота (Сб) лежат в одной плоскости (совпадают), что не вызывает децентрировки объектива при наклонах оправы.

Базирование оправы линзы (рис. 33, в) в кронштейне, устанавливаемом на рейтере, приводит к тому, что узловая точка линзы (РЭС* ) имеет поперечный (Н) и может иметь продольный (L) вылеты относительно возможного центра поворота оправы (С). В результате при повороте оправы на угол Dg РЭС имеет смещение (расфокусировку) вдоль оси Z (DZ Dg > HDg ) и децентрировку вдоль оси Х (DX Dg > L Dg ). Пунктиром на этом рисунке изображена конструкция кронштейна, позволяющая ограничить вылет L.

На рис. 34, а, б показаны конструкции соединения прямозубого колеса с валом. Вылет Н для прямозубого колеса неопасен, так как приводит к смещению РЭС* вдоль образующих зубьев при наклоне на угол Dg (для косозубого и конического колес это вылет будет опасным), а продольный вылет L при возникновении Dg создает радиальное биение зубчатого венца, поэтому должен быть ограничен (т.е. вариант конструкции на рис. 34, а предпочтительней варианта на рис.34, б).

 

Продольныйипоперечныйвылетырабочихэлементов
Рис.34

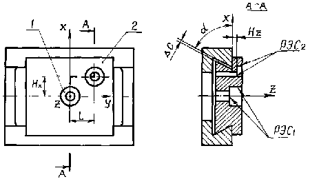
Отверстие 1 под препарат (или сетку, фотоприемник) в ползуне (рис.35), перемещающимся вдоль оси Y, выполнено с учетом рассматриваемого принципа, а отверстие 2 с нарушением его. Поэтому при возникновении поворотов ползуна вокруг осей X, Y, Z на некоторый угол Dj, имеющий продольный (L) и два поперечных вылета (Hx, Hz), будет иметь линейные смещения вдоль соответствующих осей, пропорциональные вылетам:

; ;

; ;

; .

 

 

Продольныйипоперечныйвылеты
Рис.35