Последний уровень раздела предыдущего изложения   Текущий уровень изложения предыдущего раздела   Текущий уровень изложения следующего раздела   Первый уровень изложения следующего раздела   Уровень: Глоссарии:


Принцип ограничения смещений в соединении деталей

Согласно этому принципу поверхности, ограничивающие смещение присоединяемой детали относительно базовой, следует располагать перпендикулярно к направлению ограничиваемого смещения. В этом случае более точно обеспечивается расположение рабочих элементов соединения относительно базовых, более благоприятным будет силовой режим в соединении (связанный с деформациями деталей, их износом), технологичней будут детали.

На рис. 25, а, б изображены два варианта ограничения смещения штока 1 вдоль оси Y деталью 2. В первом варианте поверхность детали 2, ограничивающая смещение штока, расположена перпендикулярно, а во втором - под углом 90° -a к оси Y.

 

Влияниепогрешностиформынаположениештока
Рис.25

 

В результате для первого варианта погрешность расположения штока вдоль оси Y из-за погрешности Dq (например, шероховатости) детали 2 будет равна самой погрешности: DYD q >

Dq; а во втором варианте она будет больше: DYD q > Dq/Cosa. Реакция (R) со стороны детали 2 на замыкающую силу Q в первом варианте равна (без учета сил трения) самой силе: R> Q; а во втором варианте она больше и равна R > Q/Cos a (т.е. больше будет износ деталей). Кроме этого, появляется составляющая сила T = Q tg a , которая может привести к изгибу и повороту (относительно оси Х) штока в зазоре направляющих.

При изготовлении, в первом варианте, необходимо обеспечить параметр l, в то время как во втором случае обеспечиваются параметры l и a.

Таким образом, на этом элементарном примере можно убедиться в том, что выполнение принципа ограничения смещения деталей в соединениях позволяет повысить точность, надежность и технологичность конструкции.

Следовательно, цилиндрические направляющие вращательного движения предпочтительней конических:

направляющие поступательного движения Т-образного типа лучше направляющих типа "ласточкин хвост" (рис. 26, а, б).

 

Зазорвнаправляющих
Рис.26

Точность кулачкового механизма 1 с меньшим углом давления (b1) будет выше, чем у механизма 2 с большим углом давления (b 2 рис.27).

 

Kлиновоймеханизм
Рис.27

Погрешность передачи движения винтовым механизмом с остроугольной резьбой больше, чем при трапециевидной резьбе и ленточной (рис. 28, а, б, в), либо, когда винт выполнен с трапециевидной резьбой, а гайка с прямоугольной ленточной) (рис. 28,г).

 

Профилирезьбы
Рис.28

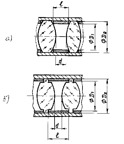
На рис. 29, а изображена часть конструкции объектива, воздушный промежуток (d) между линзами которого выдерживается с помощью промежуточного кольца размером l. Из-за нарушения принципа ограничения смещений на погрешность воздушного промежутка (Dd) будет влиять не только погрешность размера l кольца (D l), но и погрешность диаметров кольца Ж D1 и ЖD2.

 

Изменениеконструкциилинздляудовлетворенияпринципаограничениясмещений
Рис.29

Например, ,

где R1, R2 -радиусы сферических поверхностей линз. Кроме этого, данное соединение может быть критично к изменениям температуры при различных коэффициентах линейного расширения материалов линз и кольца, приводящих к разности изменений соответствующих диаметров кольца и линз, обуславливающих появление деформаций и децентрировок оптических компонентов.

Устранение указанных недостатков достигается в некоторых конструкциях путем выполнения линз с так называемым П-образным буртиком (рис. 29,б), что позволяет выполнить принцип ограничения смещений.

Нарушение рассматриваемого принципа приводит, например, к тому, что при фиксации положения подвижной каретки 1, несущей проекционную систему универсального измерительного микроскопа УИМ-23, винтом 2 происходит значительное ее смещение вдоль оси Х (рис. 30). Более правильно для направляющих типа "ласточкин хвост" осуществлять фиксацию в направлении оси Y, для которого принцип ограничения смещений выполняется.

ФиксациянаправляющихвУИМ-23
Рис.30