Последний уровень раздела предыдущего изложения   Текущий уровень изложения предыдущего раздела   Текущий уровень изложения следующего раздела   Первый уровень изложения следующего раздела   Уровень: Глоссарии:


Принцип отсутствия избыточного базирования в соединении деталей (статическая определенность соединений)

Придание материальным телам определенного и строго фиксированного положения в пространстве называют базированием. При базировании происходит отнятие лишних степеней свободы присоединяемой детали относительно базовой в их соединении.

Базирование называют избыточным, когда лишние степени свободы присоединяемой детали отняты более одного раза, т.е. когда для отнятия лишней степени свободы наложена более чем одна связь. Соотношение между оставшимися степенями свободы (n)и числом наложенных связей (m)должно быть n + m = 6.

Для выявления избыточных (или недостаточных) связей в соединении используют формулу [30]*.

, (3)

где Pk - класс элементарной пары контакта, определяющий число степеней свободы, отнимаемых парой (например, при контакте по точке P 1 = 1; при контакте по линии P2 = 2; при контакте по плоскости P3 = 3; при контакте по цилиндрической поверхности P4 = 4; для контакта конус-конус, винт-гайка P5 = 5; K - число пар данного класса.

Избыточное базирование может привести к неопределенности положения рабочих элементов соединения относительно базовых, к возникновению деформаций деталей, усложнению их сборки.

 

Направляющиепоступательногодвижения
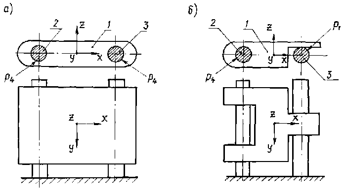
Pис.14

 

Например, для соединения ползуна 1 (рис. 14, а), перемещающегося вдоль оси с направляющими цилиндрическими стержнями 2 и 3 получаем

q = 1+4Ч 2 - 6 = 3.

Эта конструкция имеет избыточное базирование (три избыточных связи), в результате чего из-за погрешностей изготовления деталей (погрешностей межосевых расстояний, непараллельности отверстий в ползуне и осей валов) может произойти деформация ползуна и его заклинивание при движении, особенно в случае колебания температуры. Избежать этого можно либо за счет больших зазоров в направляющих, что приведет к потери точности, либо за счет тщательной регулировки цилиндров, что существенно повысит трудоемкость сборки соединения. Конструкция ползуна, изображенная на рис. 14, б, свободна от этих недостатков:

q = 1 + 4Ч 1 + 1 Ч 1 - 6 = 0 .

В некоторых случаях нарушение принципа можно видеть "невооруженным глазом" - по дублированию сопряжений деталей (базовых элементов), отнимающих одни и те же степени свободы у присоединяемой детали относительно базовой (рис. 15,а, в).

Дублированиесвязей
Рис.15

Устранить неопределенность базирования можно, либо изменив конструкциюсопряжения деталей (рис. 15, б), либо осуществив совместную технологическую обработку соответствующих поверхностей сопрягаемых деталей (размера Н кронштейна 1 и основания 2 рис. 15, в).

дублированиесвязей
Рис.16

На рис 16 изображена конструкция соединения оправы объектива с тубусом, имеющая центрировочный поясок и резьбу для фокусировки объектива. Чтобы не возникало избыточности базирования в этих сопряжениях, необходимо посадку резьбы производить с гарантированно большим зазором по сравнению с зазором посадки цилиндрического пояска. В ряде случаев проверка соединения на избыточность базирования требует тщательного анализа, так как его результат не так очевиден как в рассмотренных примерах.

Креплениелинзырезьбовымкольцом
Рис.17

На рис. 17 показана типовая конструкция соединения (крепления) плоско-выпуклой линзы с оправой с помощью резьбового кольца. Если формально подойти к определению класса элементарных пар контакта в этом соединении, мы должны записать, что: контакт сферической поверхности линзы с буртиком оправы (рис. 17, а) является парой третьего класса (P3)и отнимает смещение линзы по осям X,Y,Z; посадка линзы в оправу по цилиндрической поверхности является парой четвертого класса (Р4) и отнимает у линзы смещения по осям X,Y и повороты вокруг этих осей jX, j Y; резьбовое кольцо, замыкающее линзу на буртик оправы (по оси Z), воздействуя на плоскую поверхность линзы, отнимает у нее повороты вокруг двух осей jX, jY.

Поворот линзы вокруг оси Z(jZ) этими контактными парами не отнимается (он отнимается силами трения), поэтому согласно формуле (3) получаем

q = 1 + 3Ч 1 + 4 Ч 1 + 2Ч 1 = 4.

Аналогичный результат мы получим и для конструкции соединения, изображенного на рис. 17,б, где линза резьбовым кольцом поджимается со стороны сферической поверхности.

Таким образом, формальное проведение анализа этого соединения на избыточность базирования показывает, что конструкция имеет якобы четыре избыточных связи и, следовательно, является плохой, нежизнеспособной. Однако практика показывает, что это не так.

Рассмотрим соединение еще раз, более тщательно.

Начнем с контакта сферической поверхности линзы с кромкой оправы (либо резьбового кольца), образованной торцевой опорной поверхностью и отверстием ЖD (рис. 18). Как видно из рис. 18, со стороны кромки на линзу действует сила реакции N (обусловленная силой поджима F со стороны резьбового кольца), имеющая составляющую T, сдвигающую линзу вдоль оси X (до момента, когда линза коснется противоположной стороны кромки), когда эта составляющая больше составляющей T' силы трения Fтр S между линзой, кольцом и оправой.

 

Действующиеналинзусилысостороныоправы
Рис.18

Таким образом, этот контакт, ограничивая смещение линзы вдоль оси Z, отнимает перемещение линзы по осям X,Y,(т.е. осуществляет ее центрировку) только при выполнении условия a і 2r , т.е. приближенно:

, (4)

где r - угол трения; R - радиус линзы; m - коэффициент трения скольжения материалов оправы и линзы.

Когда это соотношение не выполняется, в сопряжении отнимаются смещение вдоль оси Z и повороты вокруг осей X,Y (jX, j Y).

Рассмотрим сопряжение линзы по посадочному цилиндру ЖDл с отверстием оправы. Как известно, эта посадка должна быть с гарантированным зазором. Поэтому при выполнении условия (4) линза не контактирует с оправой (рис. 18) по цилиндрической поверхности (ЖDл )и это сопряжение не должно учитываться при определении избыточности базирования в соединении. Сопряжение плоской поверхности линзы с резьбовым кольцом, как было сказано, ограничивает повороты линзы (вокруг центра кривизны сферической поверхности) по осям X, Y. Следовательно, данное соединение является статически определенным:

q = 1 +3Ч 1 + 2 Ч 1 - 6 = 0 .

Когда условие (4) не выполняется, смещения линзы вдоль осей X, Y ограничиваются ее сопряжением с оправой по посадочному цилиндру, а смещение вдоль оси Z торцевой кромкой оправы.

Сложнее обстоит дело с анализом ограничения поворотов. Повороты вокруг осей X, Y, ограничиваются и торцевой кромкой оправы, и цилиндрической поверхностью посадочного отверстия и, вроде бы, резьбовым кольцом. Однако из-за того, что база торцевой кромки, ограничивающая повороты, много больше соответствующей базы (длины) цилиндрической поверхности линзы, а также вследствие того, что усилия, развиваемые резьбовым кольцом, не приводят к развороту линзы, следует считать, что в реальной конструкции именно торцевая кромка будет определять угловое положение линзы.

Таким образом, и в этом случае соединение не будет иметь избыточного базирования, однако роль поверхностей оправы в ограничении подвижности линзы будет иной. Указанное обстоятельство приводит к тому, что требования (допуски) к параметрам оправы линзы, резьбовому кольцу и линзе соединения на рис. 17,а и 17,б будут разными и зависеть от условия (4). 

Например, при выполнении условия (4) в соединении, показанном на рис.17,а , отверстие оправы Ж D должно быть соосно с базовой осью ВГ оправы, а в соединении, показанном на рис. 17, б, этой соосности не требуется, но зато требуется соосность резьбового отверстия М; допуск на центрировку самой линзы может быть более широким (свободным)по сравнению со случаем, когда условие (4) не выполняется; перпендикулярность торцевой поверхности резьбового кольца к его резьбовой поверхности будет иметь жесткий допуск в случае выполнения условия (4) и широкий - в случае его невыполнения.

Анализ данного соединения на избыточность базирования заставляет конструктора обратить внимание на такие "мелочи", которые часто выпадают из его поля зрения. Так, например, опорная кромка буртика оправы не должна иметь грата и заусениц, поэтому направления движения резца должны быть от кромки в "тело" детали (рис.19, а) при ее обработке, а когда для уменьшения деформации кромки оправы и линзы при закреплении последней кромку выполняют под углом 135° либо под углом, касательным к сферической поверхности линзы (рис. 19, б, в), необходимо обеспечить расположение вершины конической поверхности кромки на базовой оси оправы.

Формыопорнойкромкиоправы

Рис.19