Последний уровень раздела предыдущего изложения   Текущий уровень изложения предыдущего раздела   Текущий уровень изложения следующего раздела   Первый уровень изложения следующего раздела   Уровень: Глоссарии:


Принципы конструирования соединений

Соединением деталей* в конструкторском смысле (как элемента конструкции) называют конструкцию элементарной сборочной единицы, состоящую из двух или нескольких деталей, находящихся в непосредственном контакте (сопряжении) друг с другом.

Соединяемые детали образуют контактные пары, которые классифицируют как: подвижные и неподвижные; замыкающиеся формой, силой и креплением; сопрягающиеся (контактирующие) по поверхности, по линии и по точке.

В соединении различают базовую и рабочую (присоединяемую) детали, а также базовые (БЭС) и рабочие (РЭС) элементы (поверхности) соединения.

 

Структурныеэлементысоединениядеталей

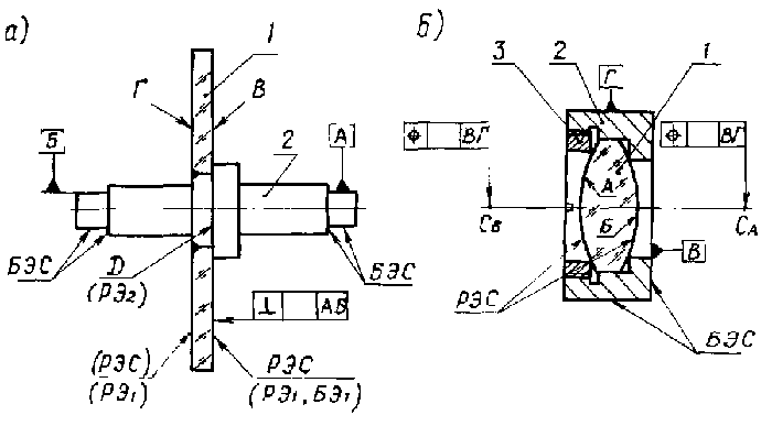
Рис.12 

На рис. 12,а изображено соединение лимба 1 с валом 2. Базовой деталью здесь является вал, а рабочей - лимб, базовым элементом соединения - цапфы вала под подшипники, рабочим элементом - поверхность лимба, на которой нанесены деления его штрихов. На рис. 12,б показано соединение линзы (рабочая присоединяемая деталь 1) с оправой 2 (базовая деталь) с помощью резьбового кольца 3, являющегося в соединении вспомогательной деталью, осуществляющей силовое замыкание линзы на торцевую посадочную поверхность оправы.

Показатели качества соединений подразделяются на: эксплуатационные (точность, надежность, износостойкость, несущая способность и т.д.); конструктивные (габаритные размеры, масса, компактность и т.д.); технологические (технологичность сборки, технологичность юстировки и контроля).

Конструируя соединения, в первую очередь стараются достичь их точности (характеризуемой погрешностью расположения РЭС* относительно БЭС*, рис.12), надежности и технологичности.

Рассмотрим принципы конструирования соединений, позволяющие обеспечить эти показатели, основанные на общих правилах и законах наложения материальных связей деталей друг на друга в соединении.