Последний уровень раздела предыдущего изложения   Текущий уровень изложения предыдущего раздела   Текущий уровень изложения следующего раздела   Первый уровень изложения следующего раздела   Уровень: Глоссарии:


Принцип совместной обработки рабочих и базовых элементов детали

Этот принцип заключается в предпочтительности конструкции детали, позволяющей осуществлять совместную технологическую обработку (за одну установку) ее рабочих и базовых элементов, так как в этом случае точность их взаимного расположения будет выше.

 

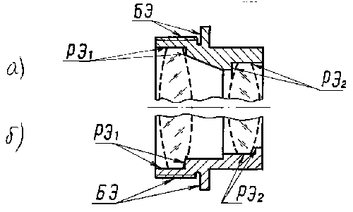
Упрощеннаясхемаоправыобъектива
Рис.8.

На рис.8 изображены варианты упрощенной конструкции оправы линз объектива, в одном из которых оба рабочих элемента (РЭ1, РЭ2) не могут быть обработаны совместно с базовым элементом (рис. 8, а), а в другом такая возможность существует (рис. 8, б). В первом случае погрешность расположения РЭ2 относительно РЭ1 и БЭ будет больше, а, следовательно, хуже центрировка линз и точность выдерживания воздушного промежутка, чем во втором варианте. Обусловлено это тем, что при перестановке (технологическом перебазировании) оправы в патроне станка возникают погрешности взаимного расположения ее РЭ и БЭ, обусловленные изменением технологической и измерительных баз.

 

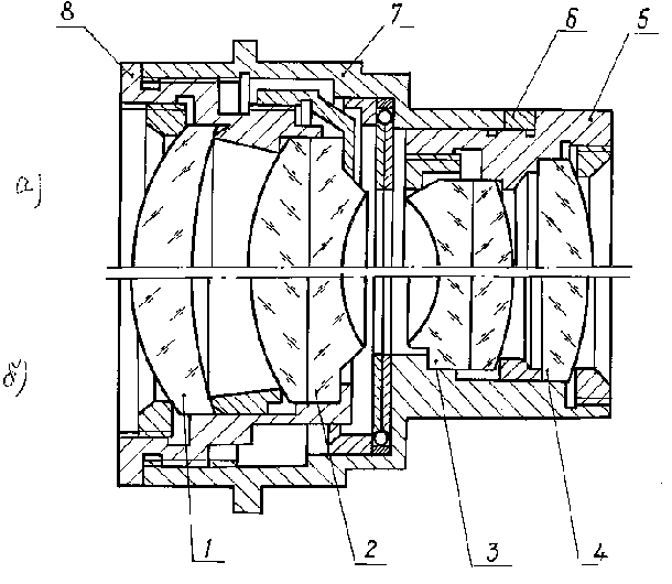
Гелиос-44
Рис.9.

На рис. 9 показана старая и модернизированная (рис. 9,б) конструкция объектива "Гелиос - 44". Оправы 8 и 5 оптических компонентов объектива (рис. 9,а) не удовлетворяют рассматриваемому принципу конструирования, поэтому взаимная децентрировка 1 и 2, 3 и 4 компонентов больше, чем в модернизированной конструкции, а для компенсации погрешностей воздушных промежутков варианта, показанного на рис. 9, а, необходимо компенсационное кольцо 6. Однако и в конструкции, показанного на рис. 9, б, принципу совместной обработки РЭ и БЭ не удовлетворяет корпусная деталь 7, что может отрицательно сказаться на качестве центрировки 1,2 с 3,4 компонентами.