Последний уровень раздела предыдущего изложения   Текущий уровень изложения предыдущего раздела   Текущий уровень изложения следующего раздела   Первый уровень изложения следующего раздела   Уровень: Глоссарии:


Общие аспекты конструирования деталей

В данном подразделе рассматриваются кратко лишь некоторые общие, а также специфические вопросы конструирования деталей, так как студентам (и прочим читателям) они, как правило, в известной степени знакомы из других учебных курсов и публикаций.

Как было сказано, детали являются простейшими объектами конструирования. Они представляют собой неделимые однородные тела, состоящие из элементов формы (геометрических поверхностей тел) и материала.

В каждой детали различают следующие структурные элементы (поверхности): рабочие (активные), базовые, соединительные (свободные) и технологические.

Рабочие элементы (РЭ) (их называют также активными или исполнительнымиповерхностями) непосредственно выполняют заданные функции детали. Например, РЭ являются сферические поверхности линзы (рис. 5,а); эвольвентная поверхность зубчатого венца колеса (рис. 5,б), плоская и цилиндрическая поверхности гнезда оправы линзы (рис. 5,в). Эти поверхности, как правило, тщательно обрабатываются, и к ним предъявляются высокие требования: точность расположения, погрешность формы, чистота поверхности, размеры и т.п.

Структурныеэлементыдеталей
Рис.5.

Базовые элементы (БЭ) обеспечивают координацию детали (т.е. координацию ее РЭ* ) относительно других деталей и представляют собой поверхности, по которым деталь cопрягается (соединяется) с базовой деталью (рис. 5). Данные поверхности изготавливаются также весьма тщательно.

Соединительные элементы (СЭ) (их называют часто свободными) служат для обеспечения материальной связи между рабочими и базовыми элементами (рис. 5). К СЭ* не предъявляются высокие требования к тщательности и точности изготовления (за исключением требований к чистоте поверхностей, когда это обусловлено эстетическими показателями качества детали).

Технологические элементы (ТЭ) служат для обеспечения технологического процесса изготовления и последующей сборки детали (например, фаски, галтели, выточки, центровые отверстия в валиках и т.п.). Для линзы (рис. 5,а) ТЭ* являются фаски, устраняющие выколки, появляющиеся на кромках при ее шлифовке; для зубчатого колеса (рис.5,б) ТЭ*является резьбовое отверстие под стопорный винт для фиксации зубчатого колеса на валике при рассверливании отверстия под штифт; в оправе линзы (рис.5,в) ТЭ* является резьба (и канавка для выхода резьбы) для закрепления оправы (с линзой) в центрировочном патроне.

Следует отметить, что одни и те же поверхности (части поверхностей) могут выполнять роль РЭ* , БЭ* и СЭ* . Наиболее благоприятным считается вариант, когда в конструкции удается объединить РЭ * и БЭ * , минимизировать СЭ *.

Процесс конструирования детали заключается в выборе материала, формы ее поверхностей и определения ее размеров. Кроме этого, конструктор должен указать допустимые отклонения характеристик материала, погрешности изготовления размеров и форм, тип покрытий, вид обработки, технические и технологические условия и требования (например, азотирование, калка, старение и т.п.).

Выбор материала производится исходя из: функционального назначения детали; условий ее эксплуатации; рациональной технологии изготовления; стоимости и дефицитности материала; требований эргономики и эстетики.

Конструктор руководствуется при этом номенклатурой, сортаментом и физико-механическими свойствами конструкционных материалов (табл.1).

Таблица 1

Оптические

1. Оптические постоянные

 

2. Спектральные характеристики

 

3. Поляризационные характеристики

Механические

1. Плотность

 

2. Упругость

 

3. Твердость

 

4. Износостойкость

 

5. Прочность

Тепловые

1. Коэффициент линейного расширения

 

2. Теплопроводность

 

3. Теплоемкость

 

4. Термооптическая постоянная

 

5. Термостойкость

Коррозионные свойства

1. Налетоопасность

 и устойчивость

2. Радиационная устойчивость

 

3. Коррозионная стойкость

 

4. Водопоглощаемость (влагостойкость)

Электромагнитные

1. Удельное электрическое сопротивление

 

2. Коэрцитивная сила

 

3. Магнитная проницаемость

 

4. Пробивная электрическая прочность

Фрикционные

1. Коэффициент трения скольжения

 

2. Коэффициент трения качения

 

3. Коэффициент сцепления

Технологические

1. Пластичность

 

2. Свариваемость

 

3. Моллируемость

 

4. Прессуемость

 

5. Трудоемкость обработки



Например, если конструируется линза, то ее материал должен быть прозрачным для рабочего диапазона длин волн света. Если линза будет эксплуатироваться в условиях тропического или морского климата, необходимо выбрать материал, стойкий к воздействию влаги, грибков, соли и других вредных факторов. Исходя из условия минимизации массы, возможности получения линзы литьем, она могла бы быть изготовлена из органического стекла (если это не нарушает других показателей качества детали).

При выборе материала деталей, взаимодействующих с человеком как непосредственно, так и косвенно, учитываются эргономические показатели: гигиенические, антропометрические и психофизиологические (уровень шума, амплитуда и частота вибраций, температура, возможность получения оптимальной формы, усилия, контраста и т.п.).

Свойство материала обуславливает также достижение соответствия формы внешних деталей их назначению, качество и совершенство отделки, возможность нанесения декоративных покрытий и другие эстетические показатели.

В общем случае решение задачи по выбору материала детали является многовариантным, так как требования к ее точности, надежности, массе, прочности, жесткости, экономичности, эстетичности и др. вступают в противоречие друг с другом, которое приходится преодолевать, оптимизируя выбор материала с помощью ранжирования значимости показателей качества детали и свойств материала. Весьма часто выбор материала производится с помощью расчета необходимых значений некоторых его характеристик по требуемым показателям качества (например, марок и оптических констант стекла по допустимым аберрациям системы, модуля упругости материала валика по его допустимым деформациям, коэффициента линейного расширения материала по допустимым изменениям размеров детали при изменении температуры и т.п.).

Выбор формы ограничивающих деталь поверхностей осуществляют исходя из: их структуры (функционального назначения); технологичности; эстетических и эргономических требований; конструктивной целесооб разности.

Форма рабочих элементов типовых деталей довольно часто бывает вполне определенной. Примером могут служить сферические поверхности линз, плоские поверхности преломляющих и отражающих граней призм, эвольвентные поверхности зубьев зубчатого колеса, спиральный профиль кулачка и т.п. Рабочие элементы оригинальных деталей выполняют в виде специальных поверхностей, например, параболлическими, эллиптическими, торическими и т.д.

Форма базовых, свободных и технологических элементов обычно представляет собой типовые поверхности - плоскость, цилиндр, конус, сферу - для оптических.  

Более технологичными являются типовые поверхности, получаемые при обработке деталей на универсальном оборудовании типовым инструментом. 

Специальные поверхности получают, используя фасонный инструмент, специализированное оборудование, оснастку, технологические процессы и контроль, что существенно снижает их технологичность по сравнению с типовыми.  

Следует помнить, что точность формы поверхности снижается с увеличением ее протяженности, при дискретном (зонном) процессе обработки поверхности по сравнению с непрерывным процессом, при увеличении числа параметров, которые нужно выдержать при обработке.

Форма поверхностей детали влияет на эргономические показатели, определяет их внешний вид, выразительность элементов и композиции, связана с качеством и совершенством отделки. Параметры формы могут быть получены эвристически, расчетным путем, исходя из условий стандартизации и унификации, технологических возможностей производства и т.п. (например, радиусы кривизны сферических поверхностей линз определяют из аберрационного расчета и ГОСТ на них, угол конуса конической или дугообразной поверхности центрового отверстия детали назначают, исходя из типа детали, ее массы, требований к точности обработки и ГОСТ 14034-74). 

Определение размеров детали производится с учетом большого числа факторов, среди которых следует выделить: функциональную точность; параметрическую надежность; жесткость; компактность; эстетичность и эргономичность; технологичность; требования стандартизации и унификации; массу и используемый сортамент материала.

Конструктор, руководствуясь вышеперечисленными факторами, выбирает или рассчитывает необходимые размеры структурных элементов детали.

В наиболее ответственных случаях детали подвергаются тщательному расчету (а иногда и экспериментальным исследованиям) по математическим моделям, связывающим ее размеры (и параметры формы) с требуемыми показателями качества, компоновкой, условиями эксплуатации, производства и другими ограничениями. Как правило, это детали, определяющие точность функционирования качество создаваемого изображения, испытывающие значительные статические, динамические, тепловые нагрузки (например, детали астрономических, военных, космических приборов). 

Для оптических деталей, например, подобными расчетами (габаритно- аберрационным определяют размеры (и расположение) рабочих элементов. 

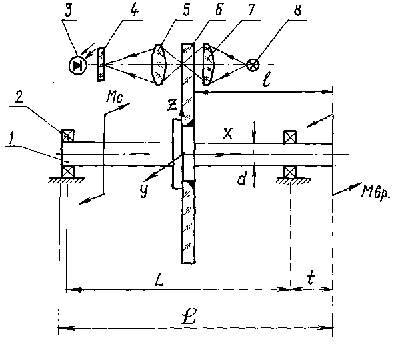
Рассмотрим на упрощенном примере процесс расчета длины и диаметра валика фотоэлектрического преобразователя (датчика) угловых перемещений (рис. 6).

Датчикугловыхперемещений
Рис.6.

 Здесь: 1 - вал; 2 - шариковый подшипник; 3 - фотоприемник; 5 - объектив; 6 - измерительный растр; 4 - индикаторный растр; 7 - конденсор; 8 - источник света.

Под действием вращающего момента (Мвр) вал, а вместе с ним и измерительный растр вращаются (вокруг оси Х), модулируя световой поток, проходящий через щели индикаторного растра, создавая на фотоприемнике переменное электрическое напряжение, преобразуемое в счетные электрические импульсы, являющиеся мерой угла поворота.

Длина валика (Lв) определяется, главным образом, расстоянием между подшипниками (L) и размером рабочего (обычно заданного в ТЗ) конца валика Lв =L+t. От расстояния между подшипниками зависят угловые повороты растра вокруг осей Z, Y DgDr и, как следствие, торцевое биение DX Drрабочей дорожки растра, обусловленное

радиальными биениями внутренних колец подшипников Dr:

,

где R - радиус рабочей дорожки растра.

 Торцевое биение растра может привести к расфокусировке изображения его штрихов и потере точности работы преобразователя, поэтому в лучшем случае оно не должно превышать дифракционной глубины резкости проекционного объектива T :

,

где l рабочая длина волны, A апертура объектива.

Следовательно, расстояние между подшипниками и искомая длина всего валика зависят от класса точности применяемых подшипников и характеристик проекционного объектива: L=4RA2 Dr/l.  

Определим диаметр (d) валика. Он может быть найден из условия, чтобы под действием моментов вращения и сопротивления (Mc) валик закручивался на угол (Djx), не больший половины величины допустимого упругого мертвого хода (Dm):

,

где l - расстояние от растра до рабочего конца валика; G - модуль сдвига материала валика; Jp= p d4/32 - полярный момент инерции валика.

Отсюда:

.

Обычно момент сопротивления вращению в таких преобразователях мал (определяется главным образом силами трения в подшипниках), поэтому значение d может получиться небольшим, не обеспечивающим достаточной жесткости валику при его изготовлении.

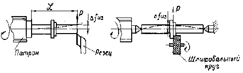
Исходя из технологической жесткости валика, его диаметр вычисляется из допустимого изгиба (Dfиз), возникающего под действием радиальной составляющей силы резания (P).

Рис.7.

При закреплении валика в патроне токарно-винторезного станка возникает консольный изгиб (рис. 7,а)

,

 где E - модуль упругости материала валика; J= pd4/64 - осевой момент инерции сечения.

 Диаметр валика находится из выражения

.

 

При обработке валика в центрах (рис. 7,б) его изгиб

,

 

а искомый диаметр валика

.